Springe zum Hauptinhalt Skip to main navigation Skip to site search

Praxis-Tipp: Dachdurchführung einer eckigen Luftleitung

Übersicht von möglichen Detaillösungen:

  • Eckiger Luftleitungsanschluss an das Lüftungsgerät mit Segeltuchstutzen

  • Kanaltragekonstruktionen mit Dämmeinlage

  • Dachdurchführung einer eckigen Luftleitung

  • Wanddurchführung einer eckigen Luftleitung

  • Unterkonstruktion der Blechverkleidung von eckigen Luftleitungen mit FEF-Dämmung

Bei den Bauteildurchführungen unterscheiden wir Wanddurchführungen und Flachdachdurchführungen

Beide Varianten können aus verschiedenen Baustoffen bzw. Bauwerksystemen hergestellt sein. Bei Wänden können diese aus verschiedenen Mauerwerkssteinen, Fertigbetonelementen, Ortbeton Stahltragwerk mit Sandwichplatten, Stahltragwerk mit Dämmung und verschiedenen beidseitigen Verkleidungen sowie Massivholzwände und Holzständerwände ebenso mit verschiedenen Beplankungen auf beiden Seiten hergestellt werden.

Begehbare Decken bzw. Dächer werden hauptsächlich aus Ortbeton, Fertigbetonteilen oder mit Trapezblechen als Kalt-, Warm- oder Umkehrdächer errichtet. Diese können auch mit Gefälle erstellt werden, z. B. Pultdächer.

Höherer Planungsaufwand durch Lüftungsanlagen

Durch den Klimawandel werden immer häufiger Gebäude mit Lüftungsanlagen zu Klimatisierung der Nutzungseinheiten verwirklicht. Aus Kosten- und oder auch aus Platzgründen bzw. zur Einhaltung der Gebäudehöhe (z. B. Hochhausgrenze) werden diese Lüftungsanlagen frei auf den Flachdächern installiert. Aufgrund der dadurch entstehenden höheren Anforderungen aller Systeme bedingt durch Sonneneinstrahlung, Regen, Schnee und schnell wechselnden Temperaturen ist hier ein höherer Planungsaufwand erforderlich.

Wenn Klimageräte auf dem Flachdach im Außenbereich installiert werden müssen, ergibt sich die Notwendigkeit, dass Luftleitungen und Medienleitungen durch Bauteile in das Gebäude geführt werden, um im Gebäude die erforderlichen Umgebungsbedingungen zu erhalten.

Für eine fachgerechte Dämmung der Bauteildurchführung mit entsprechender Abdichtung gegen eindringendes Wasser ist bei der Planung ein Grundsatz sehr wichtig:

„Jede Luftleitung oder Medienverrohrung benötigt eine eigene Bauteildurchdringung“

Das heißt, es dürfen keinesfalls mehrere Luftleitungen, ob rund oder eckig, durch eine Bauteildurchführung geplant werden.

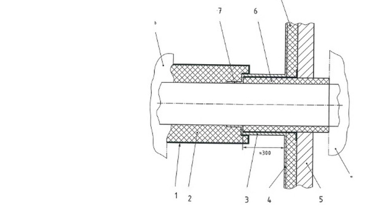
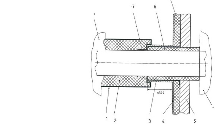
Bild 1: Dachdurchführung
Bild 1: Dachdurchführung

In der Praxis stellt sich diese Problematik dennoch manchmal anders dar. Bild 1 zeigt eine Dachdurchführung, welche, wie in Heft 2/2023 unter Punkt 3 erwähnt, näher erläutert wird.

Dieses Bild zeigt eine Flachdachaussparung mit drei durchgeführten Luftleitungen. Zwei runde Luftleitungen, wobei die rechte Luftleitung press an der danebenliegenden Außenwand anliegt. Das mittlere Lüftungsrohr besitzt ca. 30 mm Abstand zur daneben installierten eckigen Luftleitung. Diese Flachdachdurchführung wurde mit einer Flachdachdichtungsfolie provisorisch abgedichtet. Um hier eine wetterfeste Einhausung zu errichten, müssten die Luftleitungen umgebaut werden. Dies zeigt, wie wichtig die sorgfältige Planung zum Erzielen einer fachgerechten Ausführung ist.

1. wetterfester Blechmantel, 2. Luftleitungsdämmung, 3. umlaufender aufgesetzter Blechkragen, 4. dichter Abschluss der Flachdämmung, 5. Decke/Trapezblechdach, 6. Dämmung auf Fugenbreite zwischen Leitung und Deckenaussparung, 7. dichter Abschluss der Dachdichtung an der Lüftungsleitung, 8. Flachdachdämmung, a Innenbereich, b Außenbereich
1. wetterfester Blechmantel, 2. Luftleitungsdämmung, 3. umlaufender aufgesetzter Blechkragen, 4. dichter Abschluss der Flachdämmung, 5. Decke/Trapezblechdach, 6. Dämmung auf Fugenbreite zwischen Leitung und Deckenaussparung, 7. dichter Abschluss der Dachdichtung an der Lüftungsleitung, 8. Flachdachdämmung, a Innenbereich, b Außenbereich

In der „neuen“ DIN 4140 Ausgabe Mai 2023 (siehe Skizze 1) ist im Anhang G (Informativ) ein Beispiel, wie eine Bauteildurchführung ausgeführt werden kann, um Feuchtigkeitseintritt durch die Bauteilöffnung sowie Kondensat an Luftleitungen auf der Gebäudeinnenseite zu vermeiden.

Dabei ist zu beachten wie in der Skizze dargestellt:

  • dass ein Blechkragen oder „Überschubrohr“ passend zur späteren Luftleitung auf dem ungedämmten Dach befestigt wird. Dieser Kragen sollte eine Bauhöhe von ca. 300 mm über Oberkante gedämmtes Flachdach besitzen. (siehe Legende Nr. 3)
  • die Flachdachabdichtung muss bis zur Luftleitung geführt und dort dicht angeschlossen werden. (siehe Legende Nr. 7) der Ringspalt zwischen Luftleitung und Blechkragen muss mit Dämmung je nach Anforderung z. B. Brandschutz, Schallschutz usw. verfüllt werden.
  • der Ringspalt zwischen Luftleitung und Blechkragen muss mit Dämmung je nach Anforderung z. B. Brandschutz, Schallschutz usw. verfüllt werden.

Wenn keine besonderen Brandschutzanforderungen bestehen, hat sich in der Praxis eine entsprechende FEF-Dämmung für den Ringspalt bewährt. Diese Dämmung kann auf das Luftleitungsteil, welches durchgeführt wird, im Vorfeld montiert werden.

Im Heft 1/2024 werde ich ein Beispiel für eine Luftleitung, die durch Wände führt, näher erläutern.

Dieser Beitrag ist erschienen in TI-Magazin 4.2023.